Беспатронное оружие запатентовал российский изобретатель
Алексей Рогульченко изобрел автомат, в котором можно использовать разные по длине и массе пули, пишет блогер gmorder.
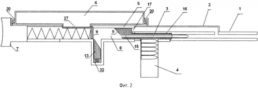
Конструктор предложил оригинальное решение, которое позволяет в одном оружии использовать разные по длине и массе пули, картечь, а также разные по массе пороховые заряды.
«Изобретение относится к автоматическому оружию и может использоваться во всех видах автоматического оружия: пистолетах-пулеметах, автоматах, ручных и станковых пулеметах, тяжелых пулеметах», — говорится в описании патента на сайте Федерального института промышленной собственности.
Раздельный способ подачи пороха и пуль отличает описанную в патенте систему от безгильзовых образцов вооружений, известных с середины XIX века. Наиболее распространенным представителем этого вида стрелкового оружия является винтовка Heckler & Koch G11, которая поставлялась немецкой армии в 1990-е. В ней использовалась пуля, вставленная в сгорающий при выстреле блок из прессованной нитроцеллюлозы. За счет этого общая масса боеприпаса была снижена вполовину относительно унитарных патронов с классической гильзой. Источник
Новостной сайт E-News.su | E-News.pro. Используя материалы, размещайте обратную ссылку.
Оказать финансовую помощь сайту E-News.su | E-News.pro
Если заметили ошибку, выделите фрагмент текста и нажмите Ctrl+Enter (не выделяйте 1 знак)














